Erfahrungen & Bewertungen zu Cerberus Kaminhaus GmbH
+10 Jahre Erfahrung
Original Ersatzteile mit Qualitätssiegel
Geprüfter Onlineshop
+10 Jahre Erfahrung

Dieses Ersatzteil ist nur noch 1x verfügbar.

Wodtke Donna Seitenstein links vorne unten

nur 64,25 €
Inhalt: 1 Stück

inkl. MwSt. zzgl. Versandkosten

Vorrätig, Lieferzeit 2-4 Tage


  • Persönliche Fachberatung für alle Ihre Fragen
  • Original Ersatzteil in geprüfter Qualität
  • 14 Tage Geld zurück Garantie für Ihre Bestellung

Weitere Informationen zum Produkt

  • 01037551


Haben Sie Fragen zu diesem Artikel?
Gerne stehe ich Ihnen zur Verfügung und beantworte Ihre Fragen:
Niklas Suter
(040) 28 48 48 - 210
Formular Ersatzteilanfrage
Original Seitenstein links vorne unten für den Kaminofen Wodtke Donna KK55... mehr
Produktinformationen "Wodtke Donna Seitenstein links vorne unten"

Original Seitenstein links vorne unten für den Kaminofen Wodtke Donna KK55

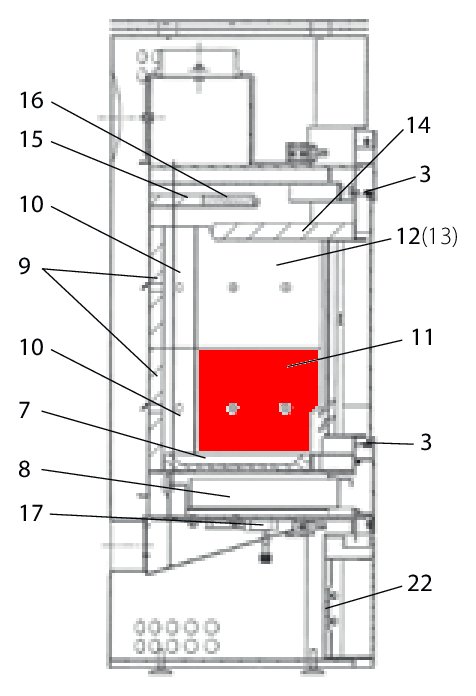
Wodtke Donna KK55 Seitenstein links vorne unten Eckdaten:

  • Brennraumstein, Feuerraumstein
  • Vermiculitestein
  • Maße (B/L/H) 236 mm x 230 mm x 25 mm
  • Material Vermiculite
  • Position 11 in der Explosionszeichnung
Ersatzteilart: Seitenstein
Modell: Donna
Material: Vermiculite
Typ 2: KK55
Weiterführende Links zu "Wodtke Donna Seitenstein links vorne unten"
Zuletzt angesehen