Erfahrungen & Bewertungen zu Cerberus Kaminhaus GmbH
+10 Jahre Erfahrung
Original Ersatzteile mit Qualitätssiegel
Geprüfter Onlineshop
+10 Jahre Erfahrung
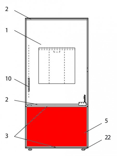
Wodtke Ego Sichtscheibe Holzfach

Wodtke Ego Sichtscheibe Holzfach

nur 312,42 €
Inhalt: 1 Stück

inkl. MwSt. zzgl. Versandkosten

Lieferzeit 3-6 Wochen


  • Persönliche Fachberatung für alle Ihre Fragen
  • Original Ersatzteil in geprüfter Qualität
  • 14 Tage Geld zurück Garantie für Ihre Bestellung

Weitere Informationen zum Produkt

  • 01001133


Haben Sie Fragen zu diesem Artikel?
Gerne stehe ich Ihnen zur Verfügung und beantworte Ihre Fragen:
Sarah Hackbarth
Original Sichtscheibe für Holzfach für den Kaminofen Wodtke Ego KK40-2 Wodtke Ego... mehr
Produktinformationen "Wodtke Ego Sichtscheibe Holzfach"

Original Sichtscheibe für Holzfach für den Kaminofen Wodtke Ego KK40-2

Wodtke Ego KK40-2 Sichtscheibe für Holzfach Eckdaten:

  • Glaskeramik, Schauglas
  • Material Glas
  • hitzebeständig
  • Position 5 in der Explosionszeichnung
Ersatzteilart: Sichtscheibe
Modell: Ego
Material: Glas
Typ 2: KK40-2
Weiterführende Links zu "Wodtke Ego Sichtscheibe Holzfach"
Zuletzt angesehen