Erfahrungen & Bewertungen zu Cerberus Kaminhaus GmbH
+10 Jahre Erfahrung
Original Ersatzteile mit Qualitätssiegel
Geprüfter Onlineshop
+10 Jahre Erfahrung

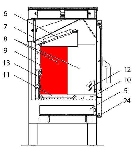
Wodtke H 01 Seitenstein links hinten

nur 60,41 €
Inhalt: 1 Stück

inkl. MwSt. zzgl. Versandkosten

Vorrätig, Lieferzeit 2-4 Tage


  • Persönliche Fachberatung für alle Ihre Fragen
  • Original Ersatzteil in geprüfter Qualität
  • 14 Tage Geld zurück Garantie für Ihre Bestellung

Weitere Informationen zum Produkt

  • 01037437


Haben Sie Fragen zu diesem Artikel?
Gerne stehe ich Ihnen zur Verfügung und beantworte Ihre Fragen:
Sarah Hackbarth
Original Seitenstein links hinten für den Kaminofen Wodtke H 01 Wodtke H 01... mehr
Produktinformationen "Wodtke H 01 Seitenstein links hinten"

Original Seitenstein links hinten für den Kaminofen Wodtke H 01

Wodtke H 01 Seitenstein links hinten Eckdaten:

  • Brennraumstein, Feuerraumstein
  • Maße (B/L/H) 183 mm x 360 mm x 30 mm
  • Material Vermiculite
  • Position 8 in der Explosionszeichnung
Ersatzteilart: Seitenstein
Modell: H
Material: Vermiculite
Typ: 01
Weiterführende Links zu "Wodtke H 01 Seitenstein links hinten"
Zuletzt angesehen