Erfahrungen & Bewertungen zu Cerberus Kaminhaus GmbH
+10 Jahre Erfahrung
Original Ersatzteile mit Qualitätssiegel
Geprüfter Onlineshop
+10 Jahre Erfahrung

Wodtke HK 04 Bodenstein mittig

nur 60,03 €
Inhalt: 1 Stück

inkl. MwSt. zzgl. Versandkosten

Lieferzeit 3-6 Wochen


  • Persönliche Fachberatung für alle Ihre Fragen
  • Original Ersatzteil in geprüfter Qualität
  • 14 Tage Geld zurück Garantie für Ihre Bestellung

Weitere Informationen zum Produkt

  • 01008247


Haben Sie Fragen zu diesem Artikel?
Gerne stehe ich Ihnen zur Verfügung und beantworte Ihre Fragen:
Niklas Suter
(040) 28 48 48 - 210
Formular Ersatzteilanfrage
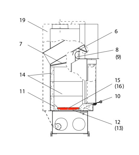
Original Bodenstein mittig für den Heizeinsatz Wodtke HK 04 Wodtke HK 04... mehr
Produktinformationen "Wodtke HK 04 Bodenstein mittig"

Original Bodenstein mittig für den Heizeinsatz Wodtke HK 04

Wodtke HK 04 Bodenstein mittig Eckdaten:

  • Brennraumstein, Feuerraumstein
  • Maße (B/L/H) 240 mm x 265 mm x 25 mm
  • Material Schamotte
  • Position 15 in der Explosionszeichnung
Ersatzteilart: Bodenstein
Modell: HK
Material: Schamotte
Typ: 04
Weiterführende Links zu "Wodtke HK 04 Bodenstein mittig"
Zuletzt angesehen