Erfahrungen & Bewertungen zu Cerberus Kaminhaus GmbH
+10 Jahre Erfahrung
Original Ersatzteile mit Qualitätssiegel
Geprüfter Onlineshop
+10 Jahre Erfahrung

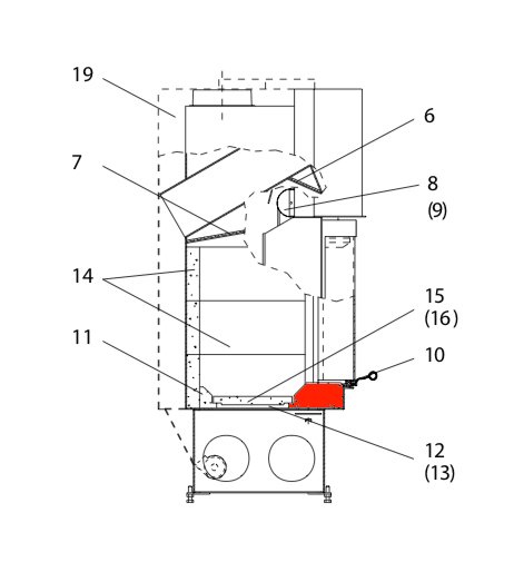
Wodtke HK 04 Bodenstein vorne

nur 160,71 €
Inhalt: 1 Stück

inkl. MwSt. zzgl. Versandkosten

Lieferzeit 3-6 Wochen


  • Persönliche Fachberatung für alle Ihre Fragen
  • Original Ersatzteil in geprüfter Qualität
  • 14 Tage Geld zurück Garantie für Ihre Bestellung

Weitere Informationen zum Produkt

  • 01008248


Haben Sie Fragen zu diesem Artikel?
Gerne stehe ich Ihnen zur Verfügung und beantworte Ihre Fragen:
Niklas Suter
(040) 28 48 48 - 210
Formular Ersatzteilanfrage
Original Bodenstein vorne für den Heizeinsatz Wodtke HK 04 Wodtke HK 04... mehr
Produktinformationen "Wodtke HK 04 Bodenstein vorne"

Original Bodenstein vorne für den Heizeinsatz Wodtke HK 04

Wodtke HK 04 Bodenstein vorne Eckdaten:

 

  • Brennraumstein, Feuerraumstein
  • Maße (B/L/H) 520 mm x 165 mm x 80 mm
  • Material Schamotte
  • mit Grillaufnahme / Haken
  • Position 10 in der Explosionszeichnung
Ersatzteilart: Bodenstein
Modell: HK
Material: Schamotte
Typ: 04
Weiterführende Links zu "Wodtke HK 04 Bodenstein vorne"
Zuletzt angesehen