Erfahrungen & Bewertungen zu Cerberus Kaminhaus GmbH
+10 Jahre Erfahrung
Original Ersatzteile mit Qualitätssiegel
Geprüfter Onlineshop
+10 Jahre Erfahrung

Dieses Ersatzteil ist nur noch 1x verfügbar.

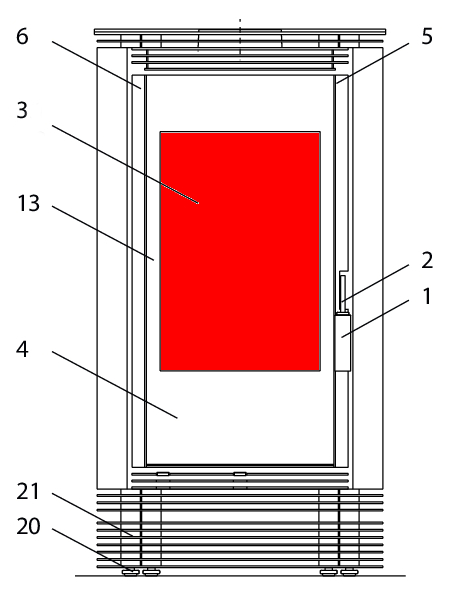
Wodtke KK 55 Sichtscheibe schwarz bedruckt

nur 1.678,49 €
Inhalt: 1 Stück

inkl. MwSt. zzgl. Versandkosten

Vorrätig, Lieferzeit 2-4 Tage


  • Persönliche Fachberatung für alle Ihre Fragen
  • Original Ersatzteil in geprüfter Qualität
  • 14 Tage Geld zurück Garantie für Ihre Bestellung

Weitere Informationen zum Produkt

  • 01037658


Haben Sie Fragen zu diesem Artikel?
Gerne stehe ich Ihnen zur Verfügung und beantworte Ihre Fragen:
Niklas Suter
(040) 28 48 48 - 210
Formular Ersatzteilanfrage
Original Sichtscheibe für den Kaminofen Wodtke KK 55 Wodtke KK 55 Sichtscheibe... mehr
Produktinformationen "Wodtke KK 55 Sichtscheibe schwarz bedruckt"

Original Sichtscheibe für den Kaminofen Wodtke KK 55

Wodtke KK 55 Sichtscheibe Eckdaten:

  • Glaskeramik, Scheibe
  • Maße (B/L/H) 347 mm x 692 mm x 4 mm
  • Bogenlänge 390 mm
  • Material Glas
  • hitzebeständig
  • schwarz bedruckt
  • Position 3 in der Explosionszeichnung
Ersatzteilart: Sichtscheibe
Modell: KK
Material: Glas
Typ: 55
Weiterführende Links zu "Wodtke KK 55 Sichtscheibe schwarz bedruckt"
Zuletzt angesehen