Erfahrungen & Bewertungen zu Cerberus Kaminhaus GmbH
+10 Jahre Erfahrung
Original Ersatzteile mit Qualitätssiegel
Geprüfter Onlineshop
+10 Jahre Erfahrung

Wodtke KK 80-1 Ascherost

nur 140,58 €
Inhalt: 1 Stück

inkl. MwSt. zzgl. Versandkosten

Lieferzeit 3-6 Wochen


  • Persönliche Fachberatung für alle Ihre Fragen
  • Original Ersatzteil in geprüfter Qualität
  • 14 Tage Geld zurück Garantie für Ihre Bestellung

Weitere Informationen zum Produkt

  • 01037250


Haben Sie Fragen zu diesem Artikel?
Gerne stehe ich Ihnen zur Verfügung und beantworte Ihre Fragen:
Niklas Suter
(040) 28 48 48 - 210
Formular Ersatzteilanfrage
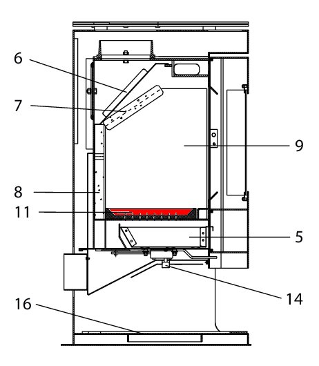
Original Ascherost für den Kaminofen Wodtke KK 80-1 Wodtke KK 80-1 Ascherost... mehr
Produktinformationen "Wodtke KK 80-1 Ascherost"

Original Ascherost für den Kaminofen Wodtke KK 80-1

Wodtke KK 80-1 Ascherost Eckdaten:

  • Gussrost, Feuerraumrost
  • Maße (B/L/H) 190 mm x 85 mm x 5 mm
  • Material Guss
  • Form rechteckig
  • Position 11 in der Explosionszeichnung
Ersatzteilart: Ascherost
Modell: KK
Form: rechteckig
Material: Guss
Typ: 80-1
Weiterführende Links zu "Wodtke KK 80-1 Ascherost"
Zuletzt angesehen