Erfahrungen & Bewertungen zu Cerberus Kaminhaus GmbH
+10 Jahre Erfahrung
Original Ersatzteile mit Qualitätssiegel
Geprüfter Onlineshop
+10 Jahre Erfahrung

Wodtke KK 80-2 Seitenstein links

nur 91,10 €
Inhalt: 1 Stück

inkl. MwSt. zzgl. Versandkosten

Lieferzeit 3-6 Wochen


  • Persönliche Fachberatung für alle Ihre Fragen
  • Original Ersatzteil in geprüfter Qualität
  • 14 Tage Geld zurück Garantie für Ihre Bestellung

Weitere Informationen zum Produkt

  • 01037604


Haben Sie Fragen zu diesem Artikel?
Gerne stehe ich Ihnen zur Verfügung und beantworte Ihre Fragen:
Niklas Suter
(040) 28 48 48 - 210
Formular Ersatzteilanfrage
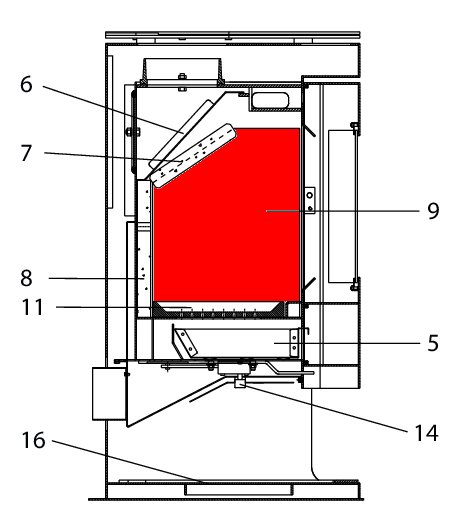
Original Seitenstein links für den Kaminofen Wodtke KK 80-2 Wodtke KK 80-2... mehr
Produktinformationen "Wodtke KK 80-2 Seitenstein links"

Original Seitenstein links für den Kaminofen Wodtke KK 80-2

Wodtke KK 80-2 Seitenstein links Eckdaten:

  • Brennraumstein, Feuerraumstein
  • Vermiculitestein
  • Maße (B/L/H) 280 mm x 337/360 mm x 25 mm
  • Material Vermiculite
  • Position 9 in der Explosionszeichnung
Ersatzteilart: Seitenstein
Modell: KK
Material: Vermiculite
Typ: 80-2
Weiterführende Links zu "Wodtke KK 80-2 Seitenstein links"
Zuletzt angesehen