Erfahrungen & Bewertungen zu Cerberus Kaminhaus GmbH
+10 Jahre Erfahrung
Original Ersatzteile mit Qualitätssiegel
Geprüfter Onlineshop
+10 Jahre Erfahrung

Dieses Ersatzteil ist nur noch 4x verfügbar.

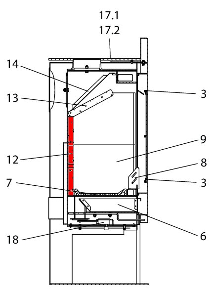
Wodtke KK 94 Rückwandstein

nur 237,62 €
Inhalt: 1 Stück

inkl. MwSt. zzgl. Versandkosten

Vorrätig, Lieferzeit 2-4 Tage


  • Persönliche Fachberatung für alle Ihre Fragen
  • Original Ersatzteil in geprüfter Qualität
  • 14 Tage Geld zurück Garantie für Ihre Bestellung

Weitere Informationen zum Produkt

  • 01037420


Haben Sie Fragen zu diesem Artikel?
Gerne stehe ich Ihnen zur Verfügung und beantworte Ihre Fragen:
Niklas Suter
(040) 28 48 48 - 210
Formular Ersatzteilanfrage
Original Rückwandstein für den Kaminofen Wodtke KK 94 Wodtke KK 94... mehr
Produktinformationen "Wodtke KK 94 Rückwandstein"

Original Rückwandstein für den Kaminofen Wodtke KK 94

Wodtke KK 94 Rückwandstein Eckdaten:

  • Brennraumstein, Feuerraumstein
  • Vermiculitesteine
  • Maße (B/L/H) 297 mm x 360 mm x 30 mm
  • Material Vermiculite
  • Position 12 in der Explosionszeichnung
Ersatzteilart: Rückwandstein
Modell: KK
Material: Vermiculite
Typ: 94
Weiterführende Links zu "Wodtke KK 94 Rückwandstein"
Zuletzt angesehen