Erfahrungen & Bewertungen zu Cerberus Kaminhaus GmbH
+10 Jahre Erfahrung
Original Ersatzteile mit Qualitätssiegel
Geprüfter Onlineshop
+10 Jahre Erfahrung

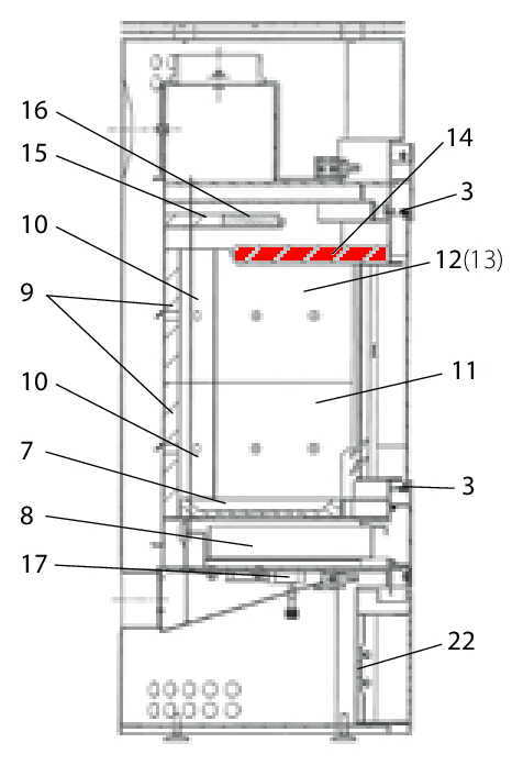
Wodtke KK 99 Zugumlenkung unten

nur 233,98 €
Inhalt: 1 Stück

inkl. MwSt. zzgl. Versandkosten

Lieferzeit 3-6 Wochen


  • Persönliche Fachberatung für alle Ihre Fragen
  • Original Ersatzteil in geprüfter Qualität
  • 14 Tage Geld zurück Garantie für Ihre Bestellung

Weitere Informationen zum Produkt

  • 01037527


Haben Sie Fragen zu diesem Artikel?
Gerne stehe ich Ihnen zur Verfügung und beantworte Ihre Fragen:
Sarah Hackbarth
Original Zugumlenkung unten für den Kaminofen Wodtke KK 99 Wodtke KK 99... mehr
Produktinformationen "Wodtke KK 99 Zugumlenkung unten"

Original Zugumlenkung unten für den Kaminofen Wodtke KK 99

Wodtke KK 99 Zugumlenkung unten Eckdaten:

  • Rauchgasumlenkung, Umlenkung
  • Maße (B/L/H) 300 mm x 246 mm x 30 mm
  • Material Vermiculite
  • Position 14 in der Explosionszeichnung
Ersatzteilart: Zugumlenkung
Modell: KK
Material: Vermiculite
Typ: 99
Weiterführende Links zu "Wodtke KK 99 Zugumlenkung unten"
Zuletzt angesehen