Erfahrungen & Bewertungen zu Cerberus Kaminhaus GmbH
+10 Jahre Erfahrung
Original Ersatzteile mit Qualitätssiegel
Geprüfter Onlineshop
+10 Jahre Erfahrung

Wodtke Momo Zugumlenkung mittig links

nur 66,74 €
Inhalt: 1 Stück

inkl. MwSt. zzgl. Versandkosten

Lieferzeit 3-6 Wochen


  • Persönliche Fachberatung für alle Ihre Fragen
  • Original Ersatzteil in geprüfter Qualität
  • 14 Tage Geld zurück Garantie für Ihre Bestellung

Weitere Informationen zum Produkt

  • 01000944


Haben Sie Fragen zu diesem Artikel?
Gerne stehe ich Ihnen zur Verfügung und beantworte Ihre Fragen:
Sarah Hackbarth
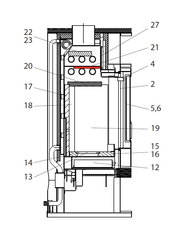
Original Zugumlenkung mittig links für den Kaminofen Wodtke Momo KK50-10 RW... mehr
Produktinformationen "Wodtke Momo Zugumlenkung mittig links"

Original Zugumlenkung mittig links für den Kaminofen Wodtke Momo KK50-10 RW

Wodtke Momo KK50-10 RW Zugumlenkung mittig links Eckdaten:

  • Rauchgasumlenkung, Prallplatte
  • Material Stahl
  • Position 21 in der Explosionszeichnung
Ersatzteilart: Zugumlenkung
Modell: Momo
Material: Stahl
Typ 2: KK50-10 RW
Weiterführende Links zu "Wodtke Momo Zugumlenkung mittig links"
Zuletzt angesehen