Erfahrungen & Bewertungen zu Cerberus Kaminhaus GmbH
+10 Jahre Erfahrung
Original Ersatzteile mit Qualitätssiegel
Geprüfter Onlineshop
+10 Jahre Erfahrung
Abweichende Lieferzeit. Bitte kontaktieren Sie uns.

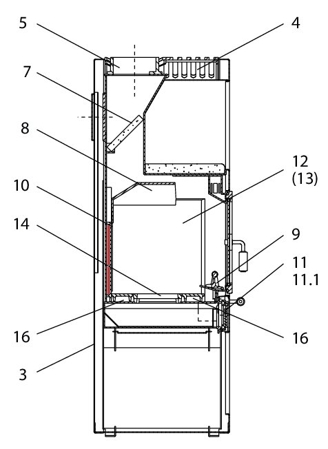
Wodtke Primo Rückwandplatte

nur 137,89 €
Inhalt: 1 Stück

inkl. MwSt. zzgl. Versandkosten


  • Persönliche Fachberatung für alle Ihre Fragen
  • Original Ersatzteil in geprüfter Qualität
  • 14 Tage Geld zurück Garantie für Ihre Bestellung

Weitere Informationen zum Produkt

  • 01000945


Haben Sie Fragen zu diesem Artikel?
Gerne stehe ich Ihnen zur Verfügung und beantworte Ihre Fragen:
Sarah Hackbarth
Original Rückwandplatte für den Kaminofen Wodtke Primo Der Hersteller hat die... mehr
Produktinformationen "Wodtke Primo Rückwandplatte"

Original Rückwandplatte für den Kaminofen Wodtke Primo

  • Der Hersteller hat die Produktion dieses Artikels eingestellt. Sofern wir über einen Restbestand verfügen, ist dieses Ersatzteil bei uns erhältlich

Wodtke Primo Rückwandplatte Eckdaten:

  • Gussplatte, Brennraumplatte
  • Maße (B/L/H) 467 mm x 350/245 mm x 15 mm
  • Material Guss
  • Position 10 in der Explosionszeichnung
Ersatzteilart: Rückwandplatte
Modell: Primo
Material: Guss
Weiterführende Links zu "Wodtke Primo Rückwandplatte"
Zuletzt angesehen