Erfahrungen & Bewertungen zu Cerberus Kaminhaus GmbH
+10 Jahre Erfahrung
Original Ersatzteile mit Qualitätssiegel
Geprüfter Onlineshop
+10 Jahre Erfahrung

Wodtke Ray water+ Luftmengensensor

nur 188,72 €
Inhalt: 1 Stück

inkl. MwSt. zzgl. Versandkosten

Lieferzeit 3-6 Wochen


  • Persönliche Fachberatung für alle Ihre Fragen
  • Original Ersatzteil in geprüfter Qualität
  • 14 Tage Geld zurück Garantie für Ihre Bestellung

Weitere Informationen zum Produkt

  • 01037507


Haben Sie Fragen zu diesem Artikel?
Gerne stehe ich Ihnen zur Verfügung und beantworte Ihre Fragen:
Sarah Hackbarth
Original Luftmengensensor für den Pelletofen Wodtke Ray water+ S4 Steuerung als... mehr
Produktinformationen "Wodtke Ray water+ Luftmengensensor"

Original Luftmengensensor für den Pelletofen Wodtke Ray water+

  • S4 Steuerung als Grundlage

Wodtke Ray water+ Luftmengensensor Eckdaten:

  • Luftmengenmesser, Luftmassenmesser
  • Maße (B/L/H) 95 mm x 50 mm x 20 mm
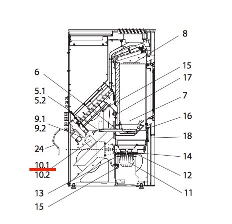
  • Position 10.1 in der Explosionszeichnung
Ersatzteilart: Luftmengensensor
Modell: Ray
Typ: water+
Weiterführende Links zu "Wodtke Ray water+ Luftmengensensor"
Zuletzt angesehen