Erfahrungen & Bewertungen zu Cerberus Kaminhaus GmbH
+10 Jahre Erfahrung
Original Ersatzteile mit Qualitätssiegel
Geprüfter Onlineshop
+10 Jahre Erfahrung

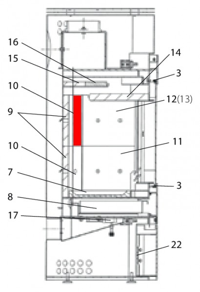
Wodtke Sun Seitenstein links hinten oben

nur 44,30 €
Inhalt: 1 Stück

inkl. MwSt. zzgl. Versandkosten

Vorrätig, Lieferzeit 2-4 Tage


  • Persönliche Fachberatung für alle Ihre Fragen
  • Original Ersatzteil in geprüfter Qualität
  • 14 Tage Geld zurück Garantie für Ihre Bestellung

Weitere Informationen zum Produkt

  • 01037495


Haben Sie Fragen zu diesem Artikel?
Gerne stehe ich Ihnen zur Verfügung und beantworte Ihre Fragen:
Niklas Suter
(040) 28 48 48 - 210
Formular Ersatzteilanfrage
Original Seitenstein links hinten oben für den Kaminofen Wodtke Sun Wodtke Sun... mehr
Produktinformationen "Wodtke Sun Seitenstein links hinten oben"

Original Seitenstein links hinten oben für den Kaminofen Wodtke Sun

Wodtke Sun Seitenstein links hinten oben Eckdaten:

  • Brennraumstein, Feuerraumstein
  • Vermiculitestein
  • Maße (B/L/H) 230 mm x 84/110 mm x 25 mm
  • Material Vermiculite
  • Position 10 in der Explosionszeichnung
Ersatzteilart: Seitenstein
Modell: Sun
Material: Vermiculite
Weiterführende Links zu "Wodtke Sun Seitenstein links hinten oben"
Zuletzt angesehen