Erfahrungen & Bewertungen zu Cerberus Kaminhaus GmbH
+10 Jahre Erfahrung
Original Ersatzteile mit Qualitätssiegel
Geprüfter Onlineshop
+10 Jahre Erfahrung

Fireplace Passat Novo Ascherost

nur 80,14 €
Inhalt: 1 Stück

inkl. MwSt. zzgl. Versandkosten

Vorrätig, Lieferzeit 2-4 Tage


  • Persönliche Fachberatung für alle Ihre Fragen
  • Original Ersatzteil in geprüfter Qualität
  • 14 Tage Geld zurück Garantie für Ihre Bestellung

Weitere Informationen zum Produkt

  • 01009157


Haben Sie Fragen zu diesem Artikel?
Gerne stehe ich Ihnen zur Verfügung und beantworte Ihre Fragen:
Niklas Suter
(040) 28 48 48 - 210
Formular Ersatzteilanfrage
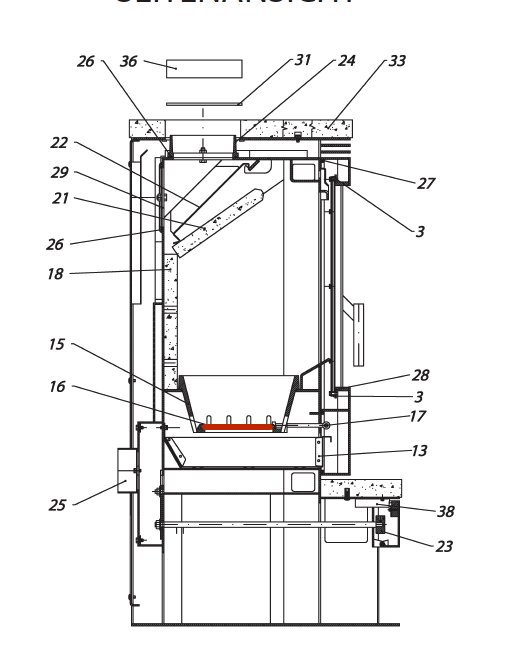
Original Ascherost für den Kaminofen Fireplace Passat Novo Fireplace Passat Novo... mehr
Produktinformationen "Fireplace Passat Novo Ascherost"

Original Ascherost für den Kaminofen Fireplace Passat Novo

Fireplace Passat Novo Ascherost Eckdaten:

  • Rost, Gussrost
  • Maße (B/L/H) 320 mm x 175 mm x 10 mm
  • Material Guss
  • Rostlager ist nicht enthalten
  • Position 16 in der Explosionszeichnung
Ersatzteilart: Ascherost
Modell: Passat
Material: Guss
Typ: Novo
Weiterführende Links zu "Fireplace Passat Novo Ascherost"
Zuletzt angesehen