Erfahrungen & Bewertungen zu Cerberus Kaminhaus GmbH
+10 Jahre Erfahrung
Original Ersatzteile mit Qualitätssiegel
Geprüfter Onlineshop
+10 Jahre Erfahrung

Dieses Ersatzteil ist nur noch 3x verfügbar.

Fireplace Passat Novo Rückwandstein

nur 106,01 €
Inhalt: 1 Stück

inkl. MwSt. zzgl. Versandkosten

Vorrätig, Lieferzeit 2-4 Tage


  • Persönliche Fachberatung für alle Ihre Fragen
  • Original Ersatzteil in geprüfter Qualität
  • 14 Tage Geld zurück Garantie für Ihre Bestellung

Weitere Informationen zum Produkt

  • 01008343


Haben Sie Fragen zu diesem Artikel?
Gerne stehe ich Ihnen zur Verfügung und beantworte Ihre Fragen:
Sarah Hackbarth
Original Rückwandstein für den Kaminofen Fireplace Passat Novo Fireplace Passat... mehr
Produktinformationen "Fireplace Passat Novo Rückwandstein"

Original Rückwandstein für den Kaminofen Fireplace Passat Novo

Fireplace Passat Novo Rückwandstein Eckdaten:

  • Brennraumstein, Feuerraumstein
  • Maße (B/L/H) 471 mm x 302 mm x 30 mm
  • Material Vermiculite
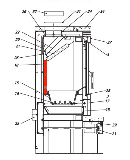
  • Position 18 in der Explosionszeichnung
Ersatzteilart: Rückwandstein
Modell: Passat
Material: Vermiculite
Typ: Novo
Weiterführende Links zu "Fireplace Passat Novo Rückwandstein"
Zuletzt angesehen