Erfahrungen & Bewertungen zu Cerberus Kaminhaus GmbH
+10 Jahre Erfahrung
Original Ersatzteile mit Qualitätssiegel
Geprüfter Onlineshop
+10 Jahre Erfahrung

Dieses Ersatzteil ist nur noch 4x verfügbar.

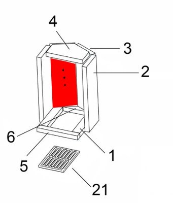
Oranier Artemis 3 Rückwandstein links

nur 60,78 €
Inhalt: 1 Stück

inkl. MwSt. zzgl. Versandkosten

Vorrätig, Lieferzeit 2-4 Tage


  • Persönliche Fachberatung für alle Ihre Fragen
  • Original Ersatzteil in geprüfter Qualität
  • 14 Tage Geld zurück Garantie für Ihre Bestellung

Weitere Informationen zum Produkt

  • 01000146


Haben Sie Fragen zu diesem Artikel?
Gerne stehe ich Ihnen zur Verfügung und beantworte Ihre Fragen:
Sarah Hackbarth
Original Rückwandstein links für den Kaminofen Oranier Artemis 3 Der Hersteller... mehr
Produktinformationen "Oranier Artemis 3 Rückwandstein links"

Original Rückwandstein links für den Kaminofen Oranier Artemis 3

  • Der Hersteller hat die Produktion dieser Steine von Schamotte auf Vermiculite umgestellt.

Oranier Artemis 3 Rückwandstein links Eckdaten:

  • Brennraumstein, Feuerraumstein
  • Maße (B/L/H) 160 mm x 490 mm x 30 mm
  • Material Vermiculite
  • Position 3 in der Explosionszeichnung
Ersatzteilart: Rückwandstein
Modell: Artemis
Material: Vermiculite
Typ: 3
Weiterführende Links zu "Oranier Artemis 3 Rückwandstein links"
Zuletzt angesehen