Erfahrungen & Bewertungen zu Cerberus Kaminhaus GmbH
+10 Jahre Erfahrung
Original Ersatzteile mit Qualitätssiegel
Geprüfter Onlineshop
+10 Jahre Erfahrung

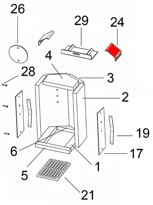
Oranier Artemis 3 Zugumlenkung oben rechts

nur 21,20 €
Inhalt: 1 Stück

inkl. MwSt. zzgl. Versandkosten

Lieferzeit 2-3 Wochen


  • Persönliche Fachberatung für alle Ihre Fragen
  • Original Ersatzteil in geprüfter Qualität
  • 14 Tage Geld zurück Garantie für Ihre Bestellung

Weitere Informationen zum Produkt

  • 01016626


Haben Sie Fragen zu diesem Artikel?
Gerne stehe ich Ihnen zur Verfügung und beantworte Ihre Fragen:
Sarah Hackbarth
Original Zugumlenkung oben rechts für den Kaminofen Oranier Artemis 3 Oranier... mehr
Produktinformationen "Oranier Artemis 3 Zugumlenkung oben rechts"

Original Zugumlenkung oben rechts für den Kaminofen Oranier Artemis 3

Oranier Artemis 3 Zugumlenkung oben rechts Eckdaten:

  • Rauchgasumlenkung, Flammenschild
  • Maße (B/L/H) 105 mm x 115 mm x 29 mm
  • Material Metall
  • Position 24 in der Explosionszeichnung
Ersatzteilart: Zugumlenkung
Modell: Artemis
Material: Metall
Typ: 3
Weiterführende Links zu "Oranier Artemis 3 Zugumlenkung oben rechts"
Zuletzt angesehen