Erfahrungen & Bewertungen zu Cerberus Kaminhaus GmbH
+10 Jahre Erfahrung
Original Ersatzteile mit Qualitätssiegel
Geprüfter Onlineshop
+10 Jahre Erfahrung

Oranier Kiruna 4 Seitenstein links hinten A

nur 28,36 €
Inhalt: 1 Stück

inkl. MwSt. zzgl. Versandkosten

Vorrätig, Lieferzeit 2-4 Tage


  • Persönliche Fachberatung für alle Ihre Fragen
  • Original Ersatzteil in geprüfter Qualität
  • 14 Tage Geld zurück Garantie für Ihre Bestellung

Weitere Informationen zum Produkt

  • 01019109


Haben Sie Fragen zu diesem Artikel?
Gerne stehe ich Ihnen zur Verfügung und beantworte Ihre Fragen:
Sarah Hackbarth
Original Seitenstein links hinten A für den Kaminofen Oranier Kiruna 4 Es gibt... mehr
Produktinformationen "Oranier Kiruna 4 Seitenstein links hinten A"

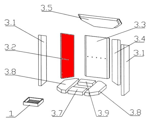
Original Seitenstein links hinten A für den Kaminofen Oranier Kiruna 4

  • Es gibt verschiedene Feuerraumauskleidungen für diesen Kaminofen.
  • Bitte orientieren Sie sich an der Serie Ihres Modells und an den Maßen der Brennraumsteine.
  • Erfahrungsgemäß ist dieser Brennraumstein in Serie 1 verbaut.

Oranier Kiruna 4 Seitenstein links hinten Eckdaten:

 

  • Brennraumstein, Feuerraumstein
  • Vermiculitesteine
  • Maße (B/L/H) 105 mm x 445 mm x 25 mm
  • Material Vermiculite
  • Position 3.2 in der Explosionszeichnung
Ersatzteilart: Seitenstein
Modell: Kiruna
Material: Vermiculite
Typ: 4
Weiterführende Links zu "Oranier Kiruna 4 Seitenstein links hinten A"
Zuletzt angesehen