Erfahrungen & Bewertungen zu Cerberus Kaminhaus GmbH
+10 Jahre Erfahrung
Original Ersatzteile mit Qualitätssiegel
Geprüfter Onlineshop
+10 Jahre Erfahrung

Oranier Pori 5 Bodenstein Set A

nur 102,56 €
Inhalt: 1 Stück

inkl. MwSt. zzgl. Versandkosten

Vorrätig, Lieferzeit 2-4 Tage


  • Persönliche Fachberatung für alle Ihre Fragen
  • Original Ersatzteil in geprüfter Qualität
  • 14 Tage Geld zurück Garantie für Ihre Bestellung

Weitere Informationen zum Produkt

  • 01021514


Haben Sie Fragen zu diesem Artikel?
Gerne stehe ich Ihnen zur Verfügung und beantworte Ihre Fragen:
Niklas Suter
(040) 28 48 48 - 210
Formular Ersatzteilanfrage
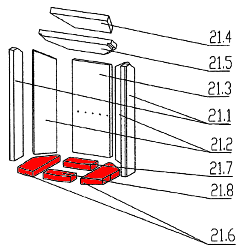
Original Bodenstein Set A für den Kaminofen Oranier Pori 5 Typ 4671 Diese... mehr
Produktinformationen "Oranier Pori 5 Bodenstein Set A"

Original Bodenstein Set A für den Kaminofen Oranier Pori 5 Typ 4671

  • Diese Brennraumsteine befinden sich erfahrungsgemäß im Feuerraum, dessen markante Merkmale folgende Steine sind: Bodenstein vorne (134x51x30 mm), Bodenstein links (93 x 157/267 x 30 mm), Seitenstein links vorne (86 x 450/480 x 25 mm)
  • Es gibt verschiedene Ausmauerungen für dieses Modell. Bitte orientieren Sie sich an den Maßen der Feuerraumsteine.

Oranier Pori 5 Typ 4671 Bodenstein Eckdaten:

 

  • 4 Stück
  • Bodenstein Set, liegende Brennraumsteine Set
  • Bodenstein vorne (134x51x30 mm), Bodenstein hinten (69x135x30 mm)
  • Bodenstein rechts (93 x 157/267 x 30 mm), Bodenstein links (93 x 157/267 x 30 mm)
  • Positionen 21.6, 21.7, 21.8 in der Explosionszeichnung
Ersatzteilart: Bodenstein
Modell: Pori
Material: Vermiculite
Typ: 5
Typ 2: Typ 4671
Weiterführende Links zu "Oranier Pori 5 Bodenstein Set A"
Zuletzt angesehen