Erfahrungen & Bewertungen zu Cerberus Kaminhaus GmbH
+10 Jahre Erfahrung
Original Ersatzteile mit Qualitätssiegel
Geprüfter Onlineshop
+10 Jahre Erfahrung
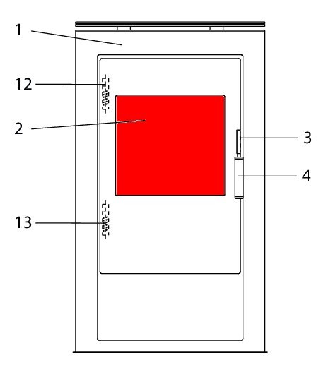
Wodtke Bo Sichtscheibe
Abweichende Lieferzeit. Bitte kontaktieren Sie uns.

Wodtke Bo Sichtscheibe

nur 325,46 €
Inhalt: 1 Stück

inkl. MwSt. zzgl. Versandkosten


  • Persönliche Fachberatung für alle Ihre Fragen
  • Original Ersatzteil in geprüfter Qualität
  • 14 Tage Geld zurück Garantie für Ihre Bestellung

Weitere Informationen zum Produkt

  • 01001089


Haben Sie Fragen zu diesem Artikel?
Gerne stehe ich Ihnen zur Verfügung und beantworte Ihre Fragen:
Niklas Suter
(040) 28 48 48 - 210
Formular Ersatzteilanfrage
Original Sichtscheibe für den Kaminofen Wodtke Bo Der Hersteller hat die Produktion... mehr
Produktinformationen "Wodtke Bo Sichtscheibe"

Original Sichtscheibe für den Kaminofen Wodtke Bo

  • Der Hersteller hat die Produktion dieses Artikels eingestellt. Sofern wir über einen Restbestand verfügen, ist dieses Ersatzteil bei uns erhältlich

Wodtke Bo Sichtscheibe Eckdaten:

  • Türglas, Scheibe
  • Material Glas
  • hitzebeständig
  • Position 2 in der Explosionszeichnung
Ersatzteilart: Sichtscheibe
Modell: Bo
Material: Glas
Weiterführende Links zu "Wodtke Bo Sichtscheibe"
Zuletzt angesehen