Erfahrungen & Bewertungen zu Cerberus Kaminhaus GmbH
+10 Jahre Erfahrung
Original Ersatzteile mit Qualitätssiegel
Geprüfter Onlineshop
+10 Jahre Erfahrung

Wodtke Bo Zugumlenkung unten

nur 80,74 €
Inhalt: 1 Stück

inkl. MwSt. zzgl. Versandkosten

Lieferzeit 3-6 Wochen


  • Persönliche Fachberatung für alle Ihre Fragen
  • Original Ersatzteil in geprüfter Qualität
  • 14 Tage Geld zurück Garantie für Ihre Bestellung

Weitere Informationen zum Produkt

  • 01001091


Haben Sie Fragen zu diesem Artikel?
Gerne stehe ich Ihnen zur Verfügung und beantworte Ihre Fragen:
Niklas Suter
(040) 28 48 48 - 210
Formular Ersatzteilanfrage
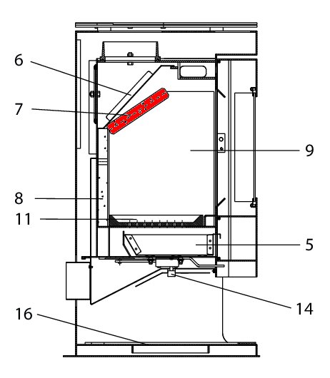
Original Zugumlenkung unten für den Kaminofen Wodtke Bo KK80-1 Wodtke Bo KK80-1... mehr
Produktinformationen "Wodtke Bo Zugumlenkung unten"

Original Zugumlenkung unten für den Kaminofen Wodtke Bo KK80-1

Wodtke Bo KK80-1 Zugumlenkung unten Eckdaten:

  • Rauchumlenkung, Flammenschild
  • Maße (B/L/H) 195/185 mm x 320/290 mm x 30 mm
  • Material Vermiculite
  • Position 7 in der Explosionszeichnung
Ersatzteilart: Zugumlenkung
Modell: Bo
Material: Vermiculite
Typ 2: KK80-1
Weiterführende Links zu "Wodtke Bo Zugumlenkung unten"
Zuletzt angesehen