Erfahrungen & Bewertungen zu Cerberus Kaminhaus GmbH
+10 Jahre Erfahrung
Original Ersatzteile mit Qualitätssiegel
Geprüfter Onlineshop
+10 Jahre Erfahrung

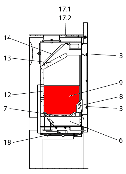
Wodtke Copa Seitenstein rechts unten

nur 101,84 €
Inhalt: 1 Stück

inkl. MwSt. zzgl. Versandkosten

Vorrätig, Lieferzeit 2-4 Tage


  • Persönliche Fachberatung für alle Ihre Fragen
  • Original Ersatzteil in geprüfter Qualität
  • 14 Tage Geld zurück Garantie für Ihre Bestellung

Weitere Informationen zum Produkt

  • 01037636


Haben Sie Fragen zu diesem Artikel?
Gerne stehe ich Ihnen zur Verfügung und beantworte Ihre Fragen:
Niklas Suter
(040) 28 48 48 - 210
Formular Ersatzteilanfrage
Original Seitenstein rechts unten für den Kaminofen Wodtke Copa Wodtke Copa... mehr
Produktinformationen "Wodtke Copa Seitenstein rechts unten"

Original Seitenstein rechts unten für den Kaminofen Wodtke Copa

Wodtke Copa Seitenstein rechts unten Eckdaten:

  • Brennraumstein, Feuerraumstein
  • Vermiculitesteine
  • Maße (B/L/H) 355 mm x 235 mm x 30 mm
  • Material Vermiculite
  • Position 9 in der Explosionszeichnung
Ersatzteilart: Seitenstein
Modell: Copa
Material: Vermiculite
Weiterführende Links zu "Wodtke Copa Seitenstein rechts unten"
Zuletzt angesehen