Erfahrungen & Bewertungen zu Cerberus Kaminhaus GmbH
+10 Jahre Erfahrung
Original Ersatzteile mit Qualitätssiegel
Geprüfter Onlineshop
+10 Jahre Erfahrung
Wodtke KK 55 Stehrost

Wodtke KK 55 Stehrost

nur 109,89 €
Inhalt: 1 Stück

inkl. MwSt. zzgl. Versandkosten

Lieferzeit 3-6 Wochen


  • Persönliche Fachberatung für alle Ihre Fragen
  • Original Ersatzteil in geprüfter Qualität
  • 14 Tage Geld zurück Garantie für Ihre Bestellung

Weitere Informationen zum Produkt

  • 01037355


Haben Sie Fragen zu diesem Artikel?
Gerne stehe ich Ihnen zur Verfügung und beantworte Ihre Fragen:
Niklas Suter
(040) 28 48 48 - 210
Formular Ersatzteilanfrage
Original Stehrost für den Kaminofen Wodtke KK 55 Wodtke KK 55 Stehrost... mehr
Produktinformationen "Wodtke KK 55 Stehrost"

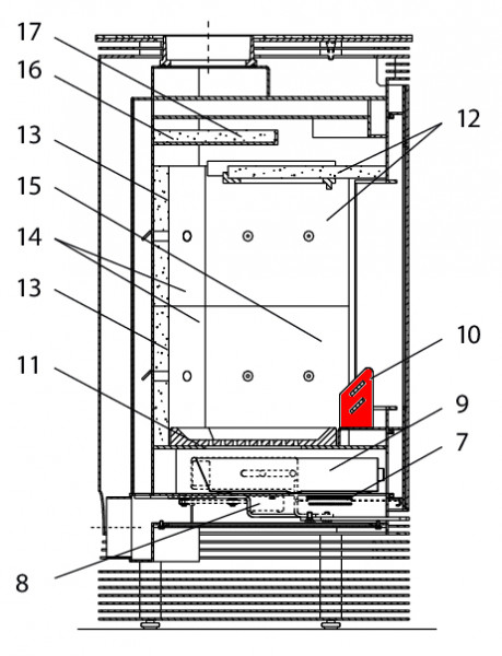
Original Stehrost für den Kaminofen Wodtke KK 55

Wodtke KK 55 Stehrost Eckdaten:

  • Glutfang, Holzfang
  • hitzebeständig
  • Position 10 in der Explosionszeichnung
Ersatzteilart: Stehrost
Modell: KK
Typ: 55
Weiterführende Links zu "Wodtke KK 55 Stehrost"
Zuletzt angesehen