Erfahrungen & Bewertungen zu Cerberus Kaminhaus GmbH
+10 Jahre Erfahrung
Original Ersatzteile mit Qualitätssiegel
Geprüfter Onlineshop
+10 Jahre Erfahrung

Dieses Ersatzteil ist nur noch 1x verfügbar.

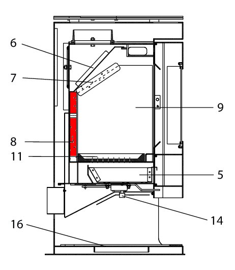
Wodtke KK 80-1 Rückwandstein

nur 116,60 €
Inhalt: 1 Stück

inkl. MwSt. zzgl. Versandkosten

Vorrätig, Lieferzeit 2-4 Tage


  • Persönliche Fachberatung für alle Ihre Fragen
  • Original Ersatzteil in geprüfter Qualität
  • 14 Tage Geld zurück Garantie für Ihre Bestellung

Weitere Informationen zum Produkt

  • 01037414


Haben Sie Fragen zu diesem Artikel?
Gerne stehe ich Ihnen zur Verfügung und beantworte Ihre Fragen:
Sarah Hackbarth
Original Rückwandstein für den Kaminofen Wodtke KK 80-1 Achtung: durch eine... mehr
Produktinformationen "Wodtke KK 80-1 Rückwandstein"

Original Rückwandstein für den Kaminofen Wodtke KK 80-1

  • Achtung: durch eine Umstellung vom Hersteller, hat dieser Rückwandstein nun 9 - statt früher 3 - Löcher.

Wodtke KK 80-1 Rückwandstein Eckdaten:

  • Brennraumstein, Feuerraumstein
  • Vermiculitestein
  • Maße (B/L/H) 340 mm x 260 mm x 25 mm
  • Material Vermiculite
  • Position 8 in der Explosionszeichnung
Ersatzteilart: Rückwandstein
Modell: KK
Material: Vermiculite
Typ: 80-1
Weiterführende Links zu "Wodtke KK 80-1 Rückwandstein"
Zuletzt angesehen