Erfahrungen & Bewertungen zu Cerberus Kaminhaus GmbH
+10 Jahre Erfahrung
Original Ersatzteile mit Qualitätssiegel
Geprüfter Onlineshop
+10 Jahre Erfahrung

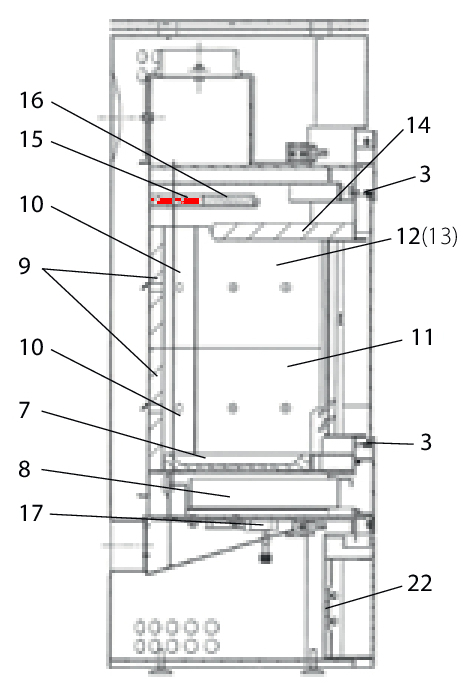
Wodtke KK 99 Zugumlenkung oben hinten

nur 37,59 €
Inhalt: 1 Stück

inkl. MwSt. zzgl. Versandkosten

Lieferzeit 3-6 Wochen


  • Persönliche Fachberatung für alle Ihre Fragen
  • Original Ersatzteil in geprüfter Qualität
  • 14 Tage Geld zurück Garantie für Ihre Bestellung

Weitere Informationen zum Produkt

  • 01037590


Haben Sie Fragen zu diesem Artikel?
Gerne stehe ich Ihnen zur Verfügung und beantworte Ihre Fragen:
Niklas Suter
(040) 28 48 48 - 210
Formular Ersatzteilanfrage
Original Zugumlenkung oben hinten für den Kaminofen Wodtke KK 99 Wodtke KK... mehr
Produktinformationen "Wodtke KK 99 Zugumlenkung oben hinten"

Original Zugumlenkung oben hinten für den Kaminofen Wodtke KK 99

Wodtke KK 99 Zugumlenkung oben hinten Eckdaten:

  • Rauchumlenkung, Umlenkung
  • Maße (B/L/H) 164/325 mm x 98 mm x 22 mm
  • Material Vermiculite
  • Position 15 in der Explosionszeichnung
Ersatzteilart: Zugumlenkung
Modell: KK
Material: Vermiculite
Typ: 99
Weiterführende Links zu "Wodtke KK 99 Zugumlenkung oben hinten"
Zuletzt angesehen